Description
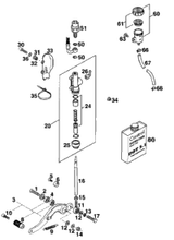
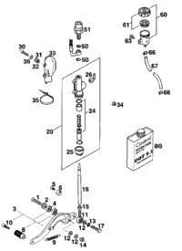
KTM FORK 450/500 EXC/XC-W 16 2016 500 XCW 14187P6901
Warranty
100% Money Back Guarantee!
Delivery & Returns
Free Standard Shipping on Orders in the USA
90-Day Easy Returns with Zero re-stocking fees
